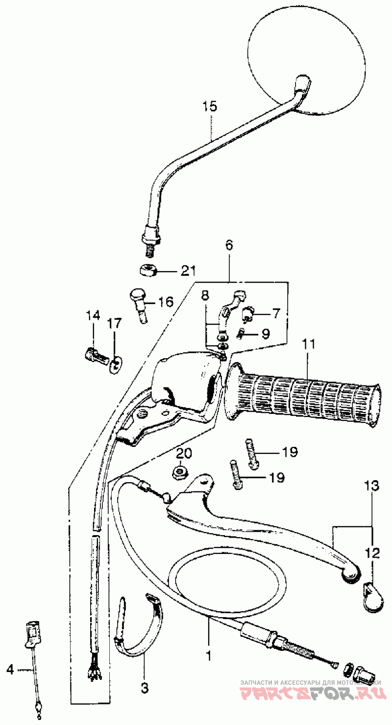
01 | | Трос, сцепления | |
01 |
|
|
22870-410-000
Трос, сцепления
ОПРОС ПОСТАВЩИКОВ...
Для сборки этого узла требуется 1 шт.
* ориентировочный срок поставки
|
|
03 | | Хомут | |
03 |
|
|
32161-404-000
Хомут
ОПРОС ПОСТАВЩИКОВ...
Для сборки этого узла требуется 2 шт.
* ориентировочный срок поставки
|
|
06 | | Реле | |
06 |
|
|
35250-300-033
Реле
ОПРОС ПОСТАВЩИКОВ...
Для сборки этого узла требуется 1 шт.
* ориентировочный срок поставки
|
|
07 | | Деталь Button | |
07 |
|
|
35317-001-310
Деталь Button
ОПРОС ПОСТАВЩИКОВ...
Для сборки этого узла требуется 1 шт.
* ориентировочный срок поставки
|
|
09 | | Деталь Spring, Button | |
09 |
|
|
35318-259-000
Деталь Spring, Button
ОПРОС ПОСТАВЩИКОВ...
Для сборки этого узла требуется 1 шт.
* ориентировочный срок поставки
|
|
11 | | Деталь Grip, L. Handlebar | |
11 |
|
|
95011-14200
Деталь Grip, L. Handlebar
ОПРОС ПОСТАВЩИКОВ...
Для сборки этого узла требуется 1 шт.
* ориентировочный срок поставки
|
|
12 | | Деталь Cap A, Lever | |
12 |
|
|
95010-16001
Деталь Cap A, Lever
ОПРОС ПОСТАВЩИКОВ...
Для сборки этого узла требуется 1 шт.
* ориентировочный срок поставки
|
|
13 | | Рычаг | |
13 |
|
|
53178-369-700
Рычаг
ОПРОС ПОСТАВЩИКОВ...
Для сборки этого узла требуется 1 шт.
* ориентировочный срок поставки
|
|
14 | | Болт | |
14 |
|
|
53192-268-000
Болт
ОПРОС ПОСТАВЩИКОВ...
Для сборки этого узла требуется 1 шт.
* ориентировочный срок поставки
|
|
16 | | Болт | |
16 |
|
|
90114-310-000
Болт
ОПРОС ПОСТАВЩИКОВ...
Для сборки этого узла требуется 1 шт.
* ориентировочный срок поставки
|
|
17 | | Гайка | |
17 |
|
|
90321-315-670
Гайка
ОПРОС ПОСТАВЩИКОВ...
Для сборки этого узла требуется 1 шт.
* ориентировочный срок поставки
|
|
19 | | Винт (5x25) | |
19 |
|
|
93500-05025-0A
Винт (5x25)
ОПРОС ПОСТАВЩИКОВ...
Для сборки этого узла требуется 2 шт.
* ориентировочный срок поставки
|
|
20 | | Гайка 6мм | |
20 |
|
|
94001-06200-0S
Гайка 6мм
ОПРОС ПОСТАВЩИКОВ...
Для сборки этого узла требуется 1 шт.
* ориентировочный срок поставки
|
|
21 | | Гайка (10mm) | |
21 |
|
|
94001-10000-0S
Гайка (10mm)
ОПРОС ПОСТАВЩИКОВ...
Для сборки этого узла требуется 2 шт.
* ориентировочный срок поставки
|
|