FLHTCSE2 1PKE CVO ELECTRA GLIDE (2005) (2005)

Оригинальные запчасти для мотоциклов Harley Davidson

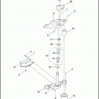
Выбор узла

FLHTCSE2 1PKE CVO ELECTRA GLIDE (2005) (2005)