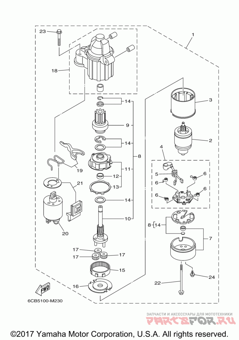
Стартер

Yamaha F300XA

Yamaha
#oem кодцена
1
6CB-81800-00-00
Стартер в сборе
2
67F-81850-00-00
Деталь . .ARMATURE ASSY
3
67F-81810-00-00
Деталь . .STATOR ASSY
4
69J-81840-10-00
Деталь . .BRUSH HOLDER ASSY
5
69J-81801-10-00
Деталь . . ..BRUSH SET
6
67F-81813-00-00
Деталь . . ..SPRING, BRUSH
7
6CB-81820-00-00
Деталь . .REAR BRACKET ASSY
8
6CB-81807-00-00
Деталь . .GEAR ASSY, STARTING MOTOR
9
6CB-81832-00-00
Деталь . . ..CLUTCH, OVER RUN
10
6CB-81836-00-00
Деталь . . ..SHAFT, PINION
11
67F-81821-00-00
Деталь . . ..BRACKET, CENTER 1
12
67F-81841-00-00
Деталь . . . ...BEARING
13
67F-8183R-00-00
Деталь . . . ...GASKET
14
6CB-81809-00-00
Деталь . . ..WASHER KIT
15
67F-81891-00-00
Деталь . .GEAR, RING
16
67F-81830-00-00
Деталь . .BRACKET, CENTER 2
17
60V-8183T-00-00
Деталь . .GEAR, IDLER
18
6CB-81842-00-00
Деталь . .COVER
19
6C5-81839-00-00
Деталь . .LEVER ASSY
20
6C5-81941-00-00
Деталь . .STARTER RELAY ASSY
21
6C5-81869-00-00
Деталь . .COVER, DUST
22
6CB-81826-00-00
Деталь . .BOLT
23
69J-81828-00-00
Деталь . .SCREW 2
24
67F-81846-00-00
Деталь . .SCREW