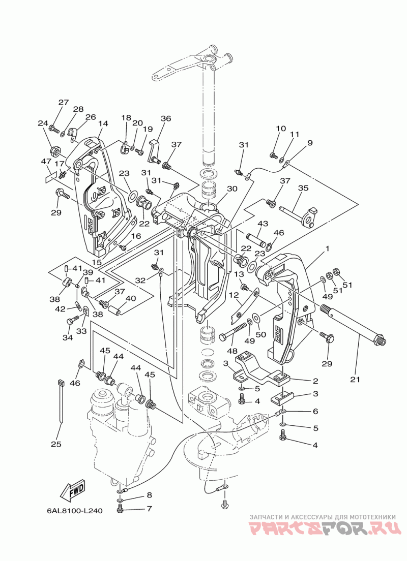
Кронштейн 1

Yamaha F200XA

Yamaha
#oem кодцена
1
69J-43111-02-8D
Деталь Bracket, Clamp 1
2
3
6G5-44526-00-00
Пластина
4
5
92990-06600-00
Шайба (отпускается по 5 шт)
6
6T4-82117-00-00
Провод
7
8
92990-06600-00
Шайба (отпускается по 5 шт)
9
6E5-82148-00-00
Деталь Wire, Lead 4
10
11
92990-06600-00
Шайба (отпускается по 5 шт)
12
61A-43132-00-00
Деталь Washer, Friction 1
13
14
69J-43112-01-8D
Деталь Bracket, Clamp
15
61A-43133-00-00
Деталь Washer, Friction
16
17
93700-06M03-00
Ниппель
18
90465-08M83-00
Зажим
19
20
92990-06600-00
Шайба (отпускается по 5 шт)
21
6R3-43131-00-00
Деталь Bolt, Clamp Bracket
22
90386-25M31-00
Втулка нейлоновая
23
90201-26M59-00
Шайба
24
90185-22007-00
Гайка
25
90465-10098-00
Зажим
26
90465-08M83-00
Зажим
27
28
92990-06600-00
Шайба (отпускается по 5 шт)
29
90119-10024-00
Болт с шайбой
30
61A-43311-22-8D
Деталь Bracket, Swivel 1
31
93700-06M03-00
Ниппель
32
69J-82147-00-00
Деталь Wire, Lead 4
33
6G5-43144-00-00
Пружина
34
35
61A-43181-01-00
Деталь Lever, Tilt Stop
36
6G5-43185-02-00
Деталь Lever, Tilt Stop 2
37
90386-10M16-00
Деталь Bush, Spec'l Nylon (5 Per Pack)
38
6G5-43148-00-00
Втулка
39
90249-06M19-00
Палец
40
90387-10M05-00
Манжета
41
91690-30020-00
Палец
42
90506-16003-00
Пружина
43
6E5-43126-10-00
Деталь Pin, Upper Shock Mou
44
90386-18M63-00
Втулка нейлоновая
45
90386-18M14-00
Втулка нейлоновая
46
93410-18M05-00
Пружинное стопорное кольцо
47
63V-82377-50-00
Деталь Label (spark, Ignition)
48
90101-12M05-00
Деталь Bolt (l:130mm) (l:130mm) Ur
49
90201-13M01-00
Шайба
50
90201-12426-00
Шайба
51
95380-12600-00
Гайка