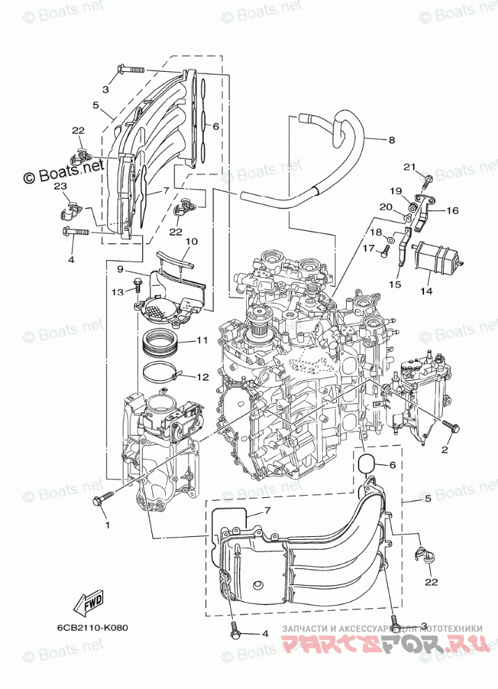
Intake 1

Yamaha VF200LA

Yamaha
#oem кодцена
1
95875-08030-00
Деталь BOLT, FLANGE
2
90119-06M24-00
Деталь BOLT, WITH WASHER
3
90119-08020-00
Деталь BOLT, WITH WASHER
4
90105-06035-00
Деталь BOLT, FLANGE
5
6CB-13641-00-00
Деталь MANIFOLD, INTAKE 1
6
6CB-13645-00-00
Деталь GASKET, MANIFOLD 1
7
6CB-13646-00-00
Деталь GASKET, MANIFOLD 2
8
6CB-15373-00-00
Деталь PIPE, BREATHER
9
6CB-14440-00-00
Деталь SILENCER ASSY, INTAKE
10
6CB-85547-00-00
Деталь DAMPER
11
6AW-1441J-00-00
Деталь PIPE, SILENCER
12
90464-99004-00
Деталь CLAMP
13
95895-06020-00
Деталь BOLT, FLANGE
14
69J-24170-00-00
Деталь CANISTER ASSY
15
69J-2419A-01-00
Деталь HOLDER
16
69J-2134X-00-00
Деталь BRACKET, CANISTER
17
97095-06016-00
Деталь BOLT
18
92995-06600-00
Деталь WASHER
19
90480-10M23-00
Деталь GROMMET
20
90387-06M60-00
Деталь COLLAR
21
90119-06M17-00
Деталь BOLT, WITH WASHER
22
90464-13249-00
Деталь CLAMP
23
90464-20181-00
Деталь CLAMP