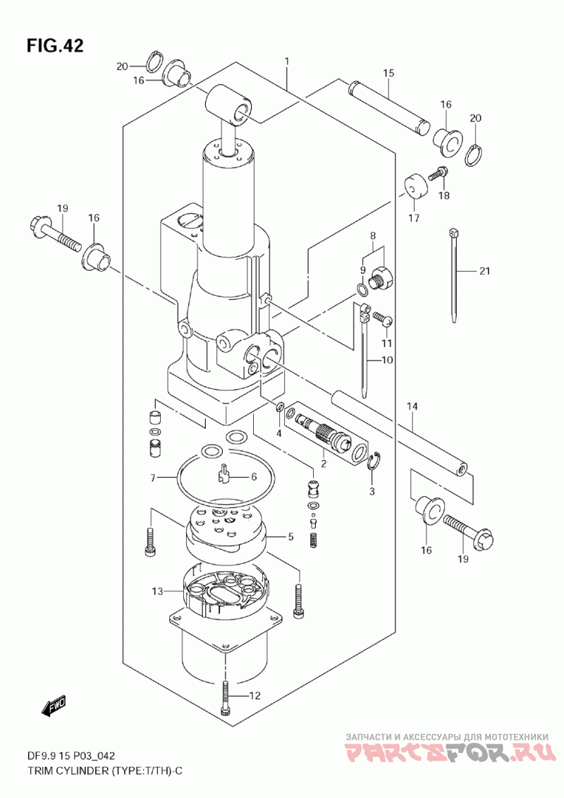
Цилиндр тримма (type:t-th)

Suzuki Marine DF9.9TH

Suzuki Marine
#oem кодцена
1
48000-94JB0
Деталь POWER TILT ASSY
1
48000-94JA0
Деталь POWER TILT ASSY
14
48121-94JA0
Деталь SHAFT, TILT CYL LOWER
15
48321-97E01
Деталь SHAFT, TILT CYL UPPER
16
48325-97E00
Втулка
17
55321-87J00
Анод
18
09103-06281
Болт
19
09116-08122
Болт
20
09380-12002
Деталь E RING
21
09407-14407
Зажим