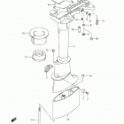
DF6 (2010)

Оригинальные запчасти для подвесных лодочных моторов Suzuki Marine

Выбор узла

DF6 (2010)