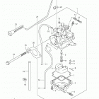
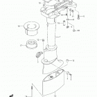
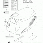
DF6 (2009)

Оригинальные запчасти для подвесных лодочных моторов Suzuki Marine

Выбор узла

DF6 (2009)