• О Компании
  • Оплата и Доставка
  • Помощь
  • Обратная связь
  • Контакты
  • Telegram
  • ВКонтакте
  • Telegram
  • ВКонтакте
  • Регистрация
  • Авторизация
Интернет магазин мотозапчастей PartsFor.ru
Москва и регионы России
  • Личный кабинет
    • Заказы
    • Оплаты
    • Отгрузки
    • Сообщения
    • Профиль
    • Выход
  • Оригинальные запчасти
    • Для мотоциклов
    • Yamaha
    • Honda
    • Suzuki
    • Kawasaki
    • Harley Davidson
    • Ducati
    • Can-Am
    • Aprilia
    • BMW
    • Triumph
    • Husaberg
    • Husqvarna
    • KTM
    • Indian
    • Victory
    • Slingshot
    • Для мотоциклов
    • Для квадроциклов
    • Для снегоходов
    • Для мотовездеходов
    • Для гидроциклов
    • Для лодочных моторов
    • Для катеров
    • Для судовых двигателей
    • Для генераторов
    • Для квадроциклов
    • Yamaha
    • Honda
    • Suzuki
    • Kawasaki
    • Arctic Cat
    • Can-Am
    • Polaris
    • KTM
    • Для снегоходов
    • Yamaha
    • Arctic Cat
    • Lynx
    • Ski-Doo
    • Polaris
    • Для генераторов
    • Для мотовездеходов
    • Yamaha
    • Honda
    • Suzuki
    • Kawasaki
    • Arctic Cat
    • Can-Am
    • Polaris
    • Polaris RZR
    • Для гидроциклов
    • Yamaha
    • Honda Marine
    • Kawasaki
    • Arctic Cat
    • Polaris
    • Sea-Doo
    • Для лодочных моторов
    • Для катеров
    • Для суд. двигателей
    • Для генераторов
    • Для лодочных моторов
    • Yamaha
    • Honda Marine
    • Suzuki Marine
    • Evinrude
    • Johnson
    • Nissan
    • Tohatsu
    • Mercury
    • Force
    • Mariner
    • Для катеров
    • Yamaha
    • Sea-Doo
    • Для суд. двигателей
    • Для спецтехники
  • Неоригинал, расходники
  • Заказ по каталогам
    • КАТАЛОГ PARTS UNLIMITED
  • Моторезина
  1. Главная
  2. Запчасти для лодочных моторов
  3. Force
  4. 1997
  5. H120422TD

H120422TD (1997)

Оригинальные запчасти для подвесных лодочных моторов Force

Выбор узла

H120422TD (1997)
  • H120422TD Adapter Plate(upper)
    Adapter Plate(upper)
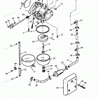
  • H120422TD Карбюратор
    Карбюратор
  • H120422TD Cowl Assembly(bottom)
    Cowl Assembly(bottom)
  • H120422TD Cowl Assembly(top)
    Cowl Assembly(top)
  • H120422TD Crankshaft And Piston And Conn Rods
    Crankshaft And Piston And Conn Rods
  • H120422TD Cylinder Block Assembly(serial # 0e138600 Thru 0e173427)
    Cylinder Block Assembly(serial # 0e138600 Thru 0e173427)
  • H120422TD Cylinder Block Assembly(serial # 0e173428 Thru 0e287999)
    Cylinder Block Assembly(serial # 0e173428 Thru 0e287999)
  • H120422TD Корпус вертикального вала
    Корпус вертикального вала
  • H120422TD Electrical Components(flywheel And Relays)
    Electrical Components(flywh eel And Relays)
  • H120422TD Electrical Components(ignition)
    Electrical Components(ignit ion)
  • H120422TD Выпускная плита
    Выпускная плита
  • H120422TD Fuel Line Assembly
    Fuel Line Assembly
  • H120422TD Топливный насос
    Топливный насос
  • H120422TD Gear Housing Assembly(driveshaft) (3 Jaw Reverse Clutch)
    Gear Housing Assembly(drivesh aft) (3 Jaw Reverse Clutch)
  • H120422TD Gear Housing Assembly(driveshaft) (6 Jaw Reverse Clutch)
    Gear Housing Assembly(drivesh aft) (6 Jaw Reverse Clutch)
  • H120422TD Gear Housing Assembly(propshaft) (3 Jaw Reverse Clutch)
    Gear Housing Assembly(propsha ft) (3 Jaw Reverse Clutch)
  • H120422TD Gear Housing Assembly(propshaft) (6 Jaw Reverse Clutch)
    Gear Housing Assembly(propsha ft) (6 Jaw Reverse Clutch)
  • H120422TD Gear Housing Identification
    Gear Housing Identification
  • H120422TD Literature And Paint
    Literature And Paint
  • H120422TD Power Trim Components(design I)
    Power Trim Components(desig n I)
  • H120422TD Power Trim Components(design Ii)
    Power Trim Components(desig n Ii)
  • H120422TD Recirculation System
    Recirculation System
  • H120422TD Reed Plate And Primer
    Reed Plate And Primer
  • H120422TD Стартер
    Стартер
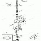
  • H120422TD Поворотный кронштейн и рычаг рулевого управления
    Поворотный кронштейн и рычаг рулевого управления
  • H120422TD Tool List(special) (page 1 Of 2)
    Tool List(special) (page 1 Of 2)
  • H120422TD Tool List(special) (page 2 Of 2)
    Tool List(special) (page 2 Of 2)
  • H120422TD Towershaft And Throttle Linkage
    Towershaft And Throttle Linkage
  • H120422TD Кронштейн крепления к транцу
    Кронштейн крепления к транцу


  Информация
  • Новости
  • О Компании
  • Оплата и Доставка
  • Помощь
  • Обратная связь
  • Контакты
  OEM запчасти
  • Запчасти для мотоциклов
  • Запчасти для квадроциклов
  • Запчасти для снегоходов
  • Запчасти для мотовездеходов
  • Запчасти для гидроциклов
  • Запчасти для лодочных моторов
  Наши контакты
  • ИП Зуев Артем Павлович
  • г. Москва 2-я Хуторская улица, д.29, офис 214
  • Email: info@partsfor.ru

Тел: ‎8(495) 532-03-60
8(909) 958-46-33; 8(925) 200-16-98

* все разговоры записываются
С 10.00 до 19.00 ПН - ПТ

© 2026 Интернет магазин запчастей для мототехники ПартсФор.

  • PaymentGateway
  • PaymentGateway
Договор-оферта
Образец договора для юр.лиц
Пользовательское соглашение
Политика конфиденциальности

Товар добавлен в корзину

Выбранный товар добавлен в Вашу корзину.
Далее Вы можете перейти в корзину для оформления заказа или закрыть это окно и продолжить покупки.

Перейти в корзину

Выбор модели техники

Выбрать