Ignition Components (ser.# E039024,e093699)

Force H090312NE

Force
#oem кодцена
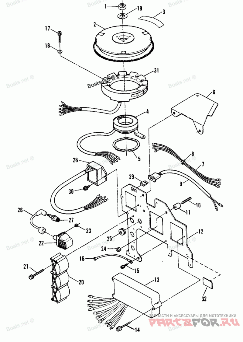
1
F1968
Деталь NUT (3/4-16)
2
817494A2
Деталь FLYWHEEL ASSEMBLY
3
FA609853
Деталь DECAL KIT, SHIFT TO NEUTRAL
4
817029A9
Деталь TRIGGERASSEMBLY
5
F2442
Шайба
6
819111
Деталь GUARD, IGNITION HARNESS
7
817441A3
Деталь HARNESS ASSEMBLY, GROUND
8
816311
Деталь CABLE TIE (8")
9
19637
Деталь SOCKET ASSEMBLY, FUSE
10
826393
Деталь STUD (5/16-18 X 2-1/4")W/DL
11
F722932
Деталь SPACER, ELECTRICAL BRACKET
12
8172685
Деталь PLATE, IGNITION MOUNTING
13
18495A12
Деталь SWITCHBOX ASSEMBLY
14
812987
Деталь SCREW (10-24 X 1-1/4")
15
41805
Деталь SCREW (10-24 X 5/8")
16
88807A29
Деталь CABLE ASSEMBLY (BLACK)
17
76566
Деталь SCREW (10-24 X 1")
17
19926100
Деталь SCREW (10-24 X 1") W/DL
18
26996
Деталь LOCKWASHER (#10)
19
31247
Шайба
20
43542
Деталь COVER, COIL
21
817458
Деталь SCREW (10-24 X 2-1/4")
22
7370A23
Деталь COIL ASSEMBLY, IGNITION
23
45076
Деталь NUT (10-24)
24
F7006
Деталь NUT (5/16-18)
25
64872
Уплотнитель резиновый
26
821945A28
Деталь CABLE ASSEMBLY, HIGH TENSION
27
827C
Деталь SPARK PLUG (CHAMPION # L-76V)
27
898
Деталь SPARK PLUG (RFI) (CHAMPION # QL-76V)
28
8174111
Деталь RECTIFIER/REGULATOR
28
815279T4
Реле регулятора
29
812619
Деталь FUSE (20 AMP)
30
817505
Деталь SCREW (1/4-20 X 5/8")
30
817504
Деталь SCREW (1/4-20 X 1-1/2")
31
8778A29
Деталь STATOR ASSEMBLY
32
819526
Деталь DECAL, THROTTLE CABLE ADJUSTMENT
--
56762
Деталь CABLE TIE (4")
--
817608A6
Деталь POWERHEAD ASSEMBLY
--
817608A17
Деталь POWERHEAD ASSEMBLY