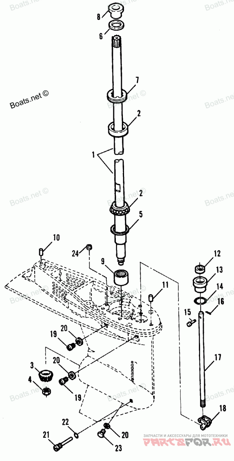
Driveshaft

Force H0708A91B

Force
#oem кодцена
1
819051A1
Деталь DRIVESHAFT ASSEMBLY
2
77420A1
Деталь BEARING SET, Roller
3
813694
Деталь GEAR, Pinion
4
55910
Деталь NUT, Special (7/16-20)
5
812770A1
Деталь SHIM SET, Driveshaft
6
F749271
Деталь RETAINER, Driveshaft Spline Seal
7
812820
Деталь NUT, Driveshaft
8
819427
Деталь SEAL, Driveshaft Spline
9
812768
Деталь BEARING, Needle Roller
10
43044
Штифт
11
43043
Штифт
12
817472
Деталь SEAL, Gear Shift Rod Lower
13
8174731
Деталь BUSHING, Shift Rod Seal
14
45258
Деталь O RING, Shift Rod
15
F85372
Деталь PIN, Gear Shift Rod Lower
16
F1015
Шплинт
17
817471
Деталь ROD, Gear Shift
18
817475
Деталь ARM ASSEMBLY, Lower Shift Rod
19
79953
Деталь SCREW, Special (3/8-16 x 1/4")
20
19183
Уплотнение
21
817468
Деталь PIN, Gear Shift Arm
22
25007
Кольцо
23
67892
Деталь PLUG, Oil Drain (Magnetic)
24
56800
Деталь PLUG, Pipe
-
814669A1
Деталь GEAR HOUSING SEAL KIT
-
819123A3
Деталь GEAR HOUSING ASSEMBLY
-
819123A4
Деталь BASIC GEAR HOUSING