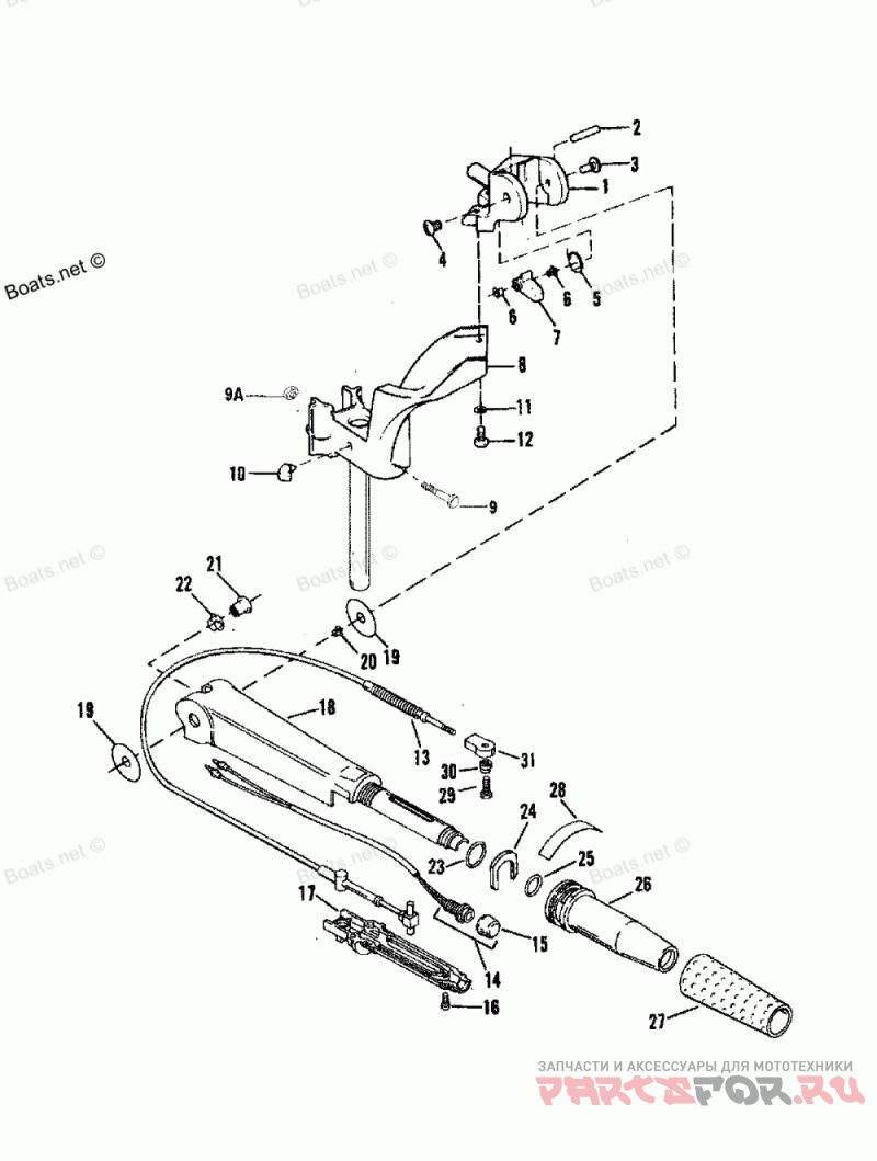
Tiller Handle-twist Grip Throttle (ser. # E090400 Thru E127

Force H015CS91A

Force
#oem кодцена
1
817751T1
Деталь BRACKET-STEERING (PAINTED)
2
F1807
Деталь PIN-GROOVE
3
823595
Деталь SCREW-STEERING HANDLE PIVOT
4
823594
Деталь SCREW-STEERING HANDLE PIVOT
5
F286868
Деталь SPRING-STEERING HANDLE STOP
6
26856
Втулка
7
F286490
Деталь STOP-STEERING HANDLE
8
819914A2
Деталь ARM/KINGPIN ASSEMBLY-STEERING (PAINTED)
9
828815
Деталь SCREW (1/4-20 X 1-3/4")
9A
814101
Деталь NUT (1/4-20)
10
F286539
Амортизатор ударов
11
78968
Деталь LOCKWASHER (1/4" INTERNAL)
12
28635
Деталь SCREW (1/4-20 X 5/8")
13
826592
Деталь CABLE ASSEMBLY-THROTTLE
14
824440A9
Деталь SWITCH ASSEMBLY-STOP
15
824466A3
Деталь COVER ASSEMBLY-STOP SWITCH
16
826575
Деталь SCREW (8-32 X 5/8")
17
827252
Деталь ARM-STEERING (LOWER)
18
826609T
Деталь HANDLE-STEERING (PAINTED)
19
F286220
Шайба
20
26856
Втулка
21
F2862241
Деталь INSERT-STEERING HANDLE PIVOT
22
812707
Втулка
23
21836
Деталь O RING (LARGE)
24
F702178
Деталь RETAINER-GRIP
25
23145
Деталь O RING (SMALL)
26
F702137
Деталь GRIP-STEERING HANDLE
27
F458695
Деталь SLEEVE-STEERING HANDLE GRIP
28
F712894
Деталь DECAL-SPEED INDICATOR
29
824352
Деталь SCREW (10-24 X 3/8")
30
826591
Втулка
31
F702035
Деталь BEARING-CONNECTOR (10-24 RH)