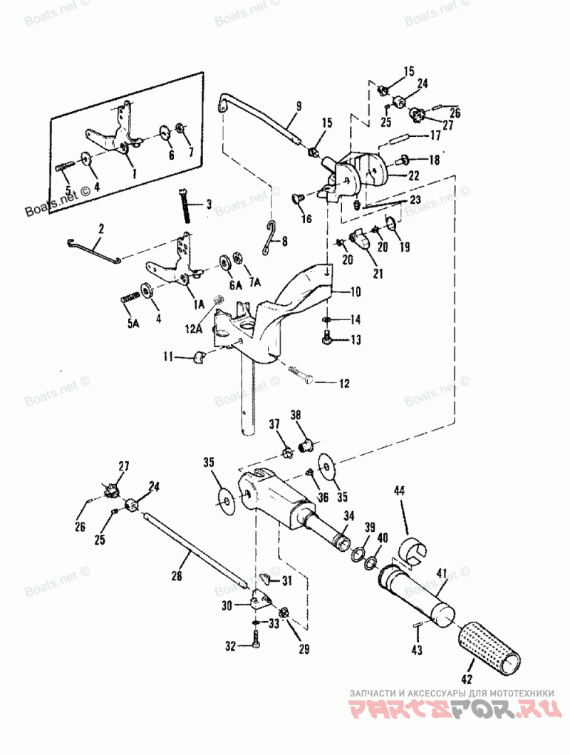
Tiller Handle And Throttle Linkage (84a-92b & Ser. # E00000

Force H0152F89B

Force
#oem кодцена
1A
819408A1
Деталь LEVER ASSY-STATOR (9.9)
1
817866A3
Деталь LEVER ASSY.-STATOR (9.9/15) (88A THRU 90A)
2
824142T
Деталь LINK-THROTTLE CAM
3
F2126
Деталь SCREW (1/4-28 X 2")
4
F183813
Деталь BEARING-CONTROL LEVER
5
F286440
Деталь STUD-CONTROL LEVER
6
F286282
Деталь WASHER-CONTROL LEVER
7
F1803
Деталь NUT (5/16-24)
5A
F660273
Деталь STUD (9.9)
6A
819704
Деталь WASHER (15)
7A
F7006
Деталь NUT (5/16-18)
8
F618445
Деталь LINK-MAGNETO SHAFT
9
F431838
Деталь SHAFT-MAGNETO CONTROL
10
819914A2
Деталь ARM/KINGPIN ASSEMBLY-STEERING (PAINTED)
11
F286539
Амортизатор ударов
12
828815
Деталь SCREW (1/4-20 X 1-3/4")
12A
814101
Деталь NUT (1/4-20)
13
28635
Деталь SCREW (1/4-20 X 5/8")
14
78968
Деталь LOCKWASHER (1/4" INTERNAL)
15
26841
Втулка
16
823594
Деталь SCREW-PIVOT
17
F1807
Деталь PIN-GROOVE
18
823595
Деталь SCREW-PIVOT
19
F286868
Деталь SPRING-STEERING HANDLE STOP
20
26856
Втулка
21
F286490
Деталь STOP-STEERING HANDLE
22
817751A3
Деталь BRACKET KIT-STEERING (PAINTED)
23
F523274
Деталь FITTING-GREASE
24
FA343178
Деталь RETAINER KIT-STEERING SHAFT
25
F1859
Деталь SCREW-SET (1/4-28 X 3/16")
26
29908
Деталь PIN-ROLL
27
8180091
Деталь GEAR-STEERING SHAFT
28
819160
Деталь SHAFT-STEERING HDLE
28
F717688
Деталь SHAFT-STEERING HANDLE (84A/91C)
29
97896
Втулка
30
F4878161
Деталь BEARING-STEERING HANDLE
31
819227
Деталь WEDGE-STEERING HANDLE
32
F1829
Деталь SCREW (10-24 X 7/8")
33
F8058
Стопорная шайба
34
819279T
Деталь HANDLE-STEERING(PAINTED)
34
F7170791
Деталь HANDLE-STEERING (84A/91C)
35
F286220
Деталь WASHER-STEERING HANDLE
36
26856
Втулка
37
812707
Втулка
38
F2862241
Деталь INSERT-STEERING HANDLE PIVOT
39
21836
Деталь O RING (LARGE)
40
38101
Деталь O RING (SMALL)
41
FA456137
Деталь HANDLE ASSEMBLY-STEERING HANDLE
42
F458695
Деталь SLEEVE-STEERING HANDLE
43
25810
Деталь PIN-ROLL
44
F712894
Деталь DECAL-SPEED/SHIFT INDICATOR (RED)
44
F2868943
Деталь DECAL-SPEED SHIFT INDICATOR (SILVER)
-
819553A14
Деталь SHORT BLOCK ASSEMBLY