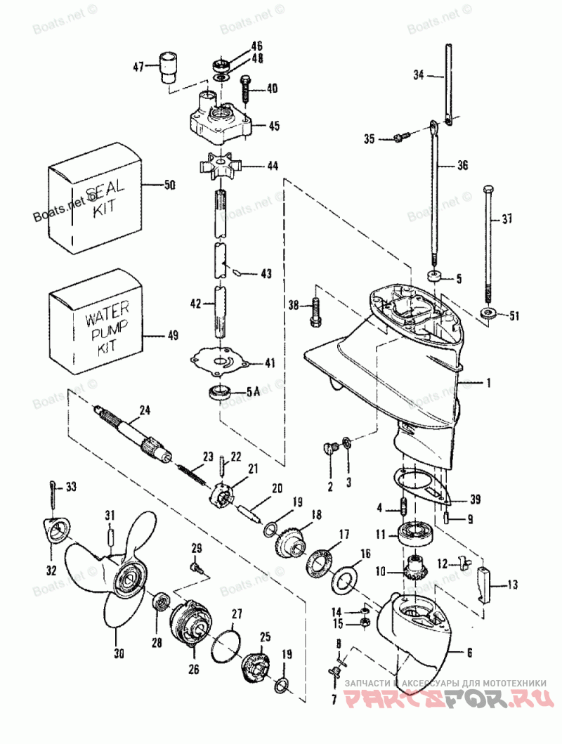
Gear Housing (all Models)

Force H0152B85A

Force
#oem кодцена
1
824916A1
Деталь HOUSING KIT-DRIVESHAFT (UPPER) (PAINTED)
2
F50109
Заглушка
3
19183
Шайба
4
826542
Деталь STUD (1/4-20 X 1.36")
5
817472
Сальник
5A
F9013072
Деталь SEAL-DRIVESHAFT
-
819483A2
Деталь GEAR HOUSING KIT (COMPLETE) (PAINTED)
6
817749A2
Деталь GEAR HOUSING ASSY. (BASIC) (PAINTED)
7
F50109
Заглушка
8
19183
Шайба
9
48450
Штифт
10
819251A1
Деталь GEAR ASSEMBLY-PINION
11
F1279102
Подшипник
12
F286895
Деталь SPRING-SHIFT CAM
13
F286721
Кулачок
14
26992
Деталь LOCKWASHER (1/4")
15
20890
Деталь NUT (1/4-20)
16
F286903
Подшипник
17
48913
Подшипник
18
819252A1
Деталь GEAR ASSEMBLY-FORWARD
19
F456717
Упорная шайба
20
F286728
Деталь PIN-SHIFT
21
819253
Деталь CLUTCH-SHIFT
22
F8564
Деталь PIN-SPIRAL
23
F409719
Деталь SPRING-CLUTCH
24
F456098
Деталь SHAFT-PROPELLER
25
819254A1
Деталь GEAR ASSEMBLY-REVERSE
26
817756A2
Деталь CAGE ASSEMBLY-PROPSHAFT (PAINTED)
27
F455305
Деталь SEAL-PROPSHAFT CAGE
28
66022
Деталь SEAL-PROPSHAFT
29
28639
Деталь SCREW (1/4-20 X 5/8")
30
FP6430
Деталь PROPELLER (8 X 8-1/4 X 3)
30
FP2863
Деталь PROPELLER (8-1/4 X 8-1/4 X 2)
30
FP715
Деталь PROPELLER (8-3/8 X 6 X 3)
30
FP6477
Деталь PROPELLER (8 X 9-1/4 X 3)
31
FA324101
Деталь PIN KIT-PROPELLER (3 PINS)
32
817752A1
Деталь NUT KIT-PROP
33
45882
Деталь PIN-COTTER
34
F286615
Деталь ROD-UPPER GEAR SHIFT
35
F1976
Деталь SCREW (10-24 X 1/2")
36
F2867051
Деталь ROD-LOWER GEAR SHIFT (15" TRANSOM)
36
819962
Деталь ROD-LOWER GEAR SHIFT (20" TRANSOM)
37
F1800
Деталь BOLT (1/4-20 X 7")
38
F430732
Деталь SCREW-GEAR HOUSING MOUNT
39
F286555
Деталь GASKET-GEAR HOUSING
40
F2030
Деталь SCREW (1/4-20 X 1-1/4")
41
F341562
Деталь PLATE-WATER PUMP BACK
42
F343128
Деталь DRIVESHAFT (15" TRANSOM)
42
F344128
Деталь DRIVESHAFT (20" TRANSOM)
43
F901563
Деталь PIN-IMPELLER
44
F4360652
Деталь IMPELLER-WATER PUMP
45
FA715060
Деталь BODY ASSEMBLY-WATER PUMP
46
F9013072
Деталь SEAL-DRIVESHAFT
47
FA510914
Деталь SEAL-WATER LINE
48
F715388
Деталь DISC-WATER PUMP
49
FK10311
Рем.комплект помпы
50
FK1065
Деталь SEAL KIT-GEAR HOUSING
51
37998
Шайба