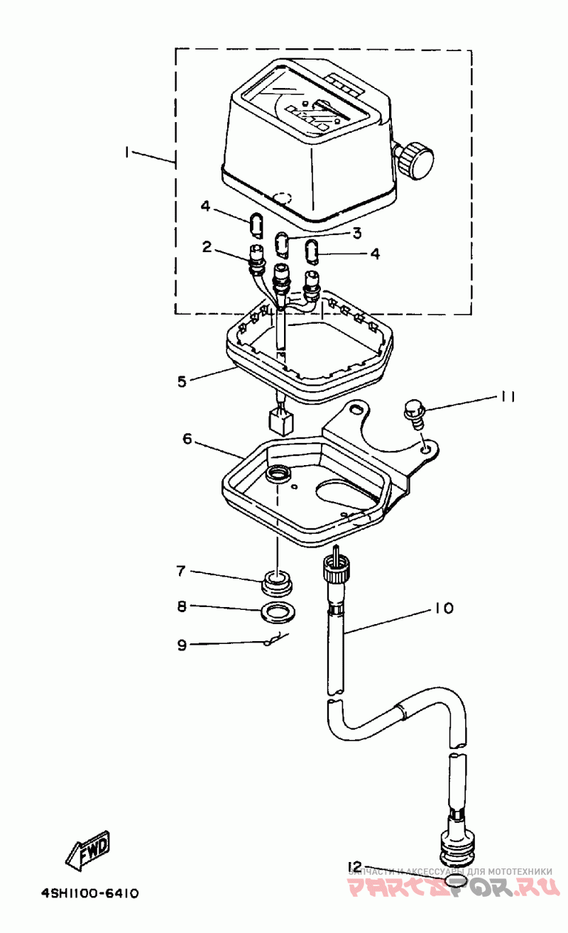
Приборы 1
Yamaha Kodiak
| # | oem код | название | цена |
|---|---|---|---|
1 | 4SH-83570-00-00 Спидометр | Спидометр | |
2 | 4SH-83536-00-00 Деталь Socket, Meter | Деталь Socket, Meter | |
3 | 4G1-84744-00-XX Лампа 12v 3.4w T10 | Лампа 12v 3.4w T10 | |
4 | 3GM-83517-00-00 Лампа (12v-1.7w) | Лампа (12v-1.7w) | |
5 | 5Y0-83513-00-00 Демпфер | Демпфер | |
6 | 4GB-83519-00-00 Крепление спидометра | Крепление спидометра | |
7 | 1M1-83526-00-00 Демпфер | Демпфер | |
8 | 4X8-83524-00-00 Шайба | Шайба | |
9 | 90468-10050-00 Зажим | Зажим | |
10 | 4SH-83550-01-00 Трос спидометра | Трос спидометра | |
11 | 95817-06010-00 Болт | Болт | |
12 | 93210-14579-00 Кольцо уплотнительное | Кольцо уплотнительное |
