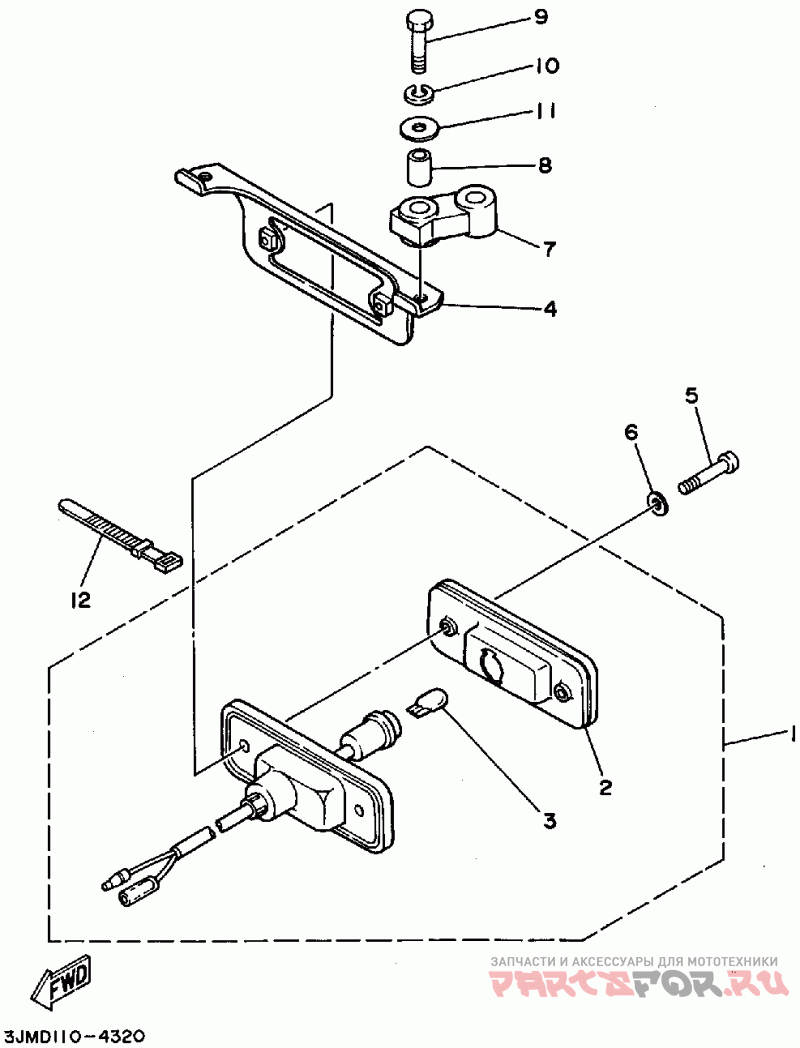
Фонарь задний

Yamaha Blaster

Yamaha
#oem кодцена
1
38W-84710-00-00
Фонарь
2
38W-84721-00-00
Стекло фонаря
3
3F9-84744-00-XX
Деталь Bulb, Meter 12v3.8w
4
1UY-84702-10-00
Кронштейн, заднего фонаря
5
6
92907-04600-00
Шайба
7
38W-84736-00-00
Демпфер
8
90387-06553-00
Втулка
9
10
92907-06600-00
Шайба
11
90201-06057-00
Шайба (отпускается по 5 шт)
12
437-83936-01-00
Зажим пластиковый