• О Компании
  • Оплата и Доставка
  • Помощь
  • Обратная связь
  • Контакты
  • Telegram
  • ВКонтакте
  • Telegram
  • ВКонтакте
  • Регистрация
  • Авторизация
Интернет магазин мотозапчастей PartsFor.ru
Москва и регионы России
  • Личный кабинет
    • Заказы
    • Оплаты
    • Отгрузки
    • Сообщения
    • Профиль
    • Выход
  • Оригинальные запчасти
    • Для мотоциклов
    • Yamaha
    • Honda
    • Suzuki
    • Kawasaki
    • Harley Davidson
    • Ducati
    • Can-Am
    • Aprilia
    • BMW
    • Triumph
    • Husaberg
    • Husqvarna
    • KTM
    • Indian
    • Victory
    • Slingshot
    • Для мотоциклов
    • Для квадроциклов
    • Для снегоходов
    • Для мотовездеходов
    • Для гидроциклов
    • Для лодочных моторов
    • Для катеров
    • Для судовых двигателей
    • Для генераторов
    • Для квадроциклов
    • Yamaha
    • Honda
    • Suzuki
    • Kawasaki
    • Arctic Cat
    • Can-Am
    • Polaris
    • KTM
    • Для снегоходов
    • Yamaha
    • Arctic Cat
    • Lynx
    • Ski-Doo
    • Polaris
    • Для генераторов
    • Для мотовездеходов
    • Yamaha
    • Honda
    • Suzuki
    • Kawasaki
    • Arctic Cat
    • Can-Am
    • Polaris
    • Polaris RZR
    • Для гидроциклов
    • Yamaha
    • Honda Marine
    • Kawasaki
    • Arctic Cat
    • Polaris
    • Sea-Doo
    • Для лодочных моторов
    • Для катеров
    • Для суд. двигателей
    • Для генераторов
    • Для лодочных моторов
    • Yamaha
    • Honda Marine
    • Suzuki Marine
    • Evinrude
    • Johnson
    • Nissan
    • Tohatsu
    • Mercury
    • Force
    • Mariner
    • Для катеров
    • Yamaha
    • Sea-Doo
    • Для суд. двигателей
    • Для спецтехники
  • Неоригинал, расходники
  • Заказ по каталогам
    • КАТАЛОГ PARTS UNLIMITED
  • Моторезина
  1. Главная
  2. Запчасти для квадроциклов
  3. Polaris
  4. 2016
  5. A16YAK09AF OUTLAW 90

A16YAK09AF OUTLAW 90 (2016)

Оригинальные запчасти для квадроциклов Polaris

Выбор узла

A16YAK09AF OUTLAW 90 (2016)
  • A16YAK09AF OUTLAW 90 Крылья и сиденье
    Крылья и сиденье
  • A16YAK09AF OUTLAW 90 Карбюратор
    Карбюратор
  • A16YAK09AF OUTLAW 90 Кузов Наклейки
    Кузов Наклейки
  • A16YAK09AF OUTLAW 90 Крышка сцепления и педаль кикстартера
    Крышка сцепления и педаль кикстартера
  • A16YAK09AF OUTLAW 90 Топливный бак
    Топливный бак
  • A16YAK09AF OUTLAW 90 Картер
    Картер
  • A16YAK09AF OUTLAW 90 Тормоза передние
    Тормоза передние
  • A16YAK09AF OUTLAW 90 Крышка картера
    Крышка картера
  • A16YAK09AF OUTLAW 90 Тормоза задние
    Тормоза задние
  • A16YAK09AF OUTLAW 90 Колен.вал и поршни
    Колен.вал и поршни
  • A16YAK09AF OUTLAW 90 Подножки
    Подножки
  • A16YAK09AF OUTLAW 90 Цилиндр двигателя
    Цилиндр двигателя
  • A16YAK09AF OUTLAW 90 Бампер
    Бампер
  • A16YAK09AF OUTLAW 90 Головка цилиндра двигателя
    Головка цилиндра двигателя
  • A16YAK09AF OUTLAW 90 Рама
    Рама
  • A16YAK09AF OUTLAW 90 Глушитель
    Глушитель
  • A16YAK09AF OUTLAW 90 Цепь привода
    Цепь привода
  • A16YAK09AF OUTLAW 90 Генератор и стартер
    Генератор и стартер
  • A16YAK09AF OUTLAW 90 Сцепление
    Сцепление
  • A16YAK09AF OUTLAW 90 Маслянный насос
    Маслянный насос
  • A16YAK09AF OUTLAW 90 Вторичная муфта сцепления
    Вторичная муфта сцепления
  • A16YAK09AF OUTLAW 90 Стартер
    Стартер
  • A16YAK09AF OUTLAW 90 Drive train, transmission -a16yak09af (49atvtransmission...
    Drive train, transmission -a16yak09af (49atvtransmissi on...
  • A16YAK09AF OUTLAW 90 References, manual and setup information
    References, manual and setup information
  • A16YAK09AF OUTLAW 90 Селектор переключения
    Селектор переключения
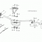
  • A16YAK09AF OUTLAW 90 Руль
    Руль
  • A16YAK09AF OUTLAW 90 Передние и задние световые приборы
    Передние и задние световые приборы
  • A16YAK09AF OUTLAW 90 Рулевое управление
    Рулевое управление
  • A16YAK09AF OUTLAW 90 Электрика, выключатели, жгут и индикаторы
    Электрика, выключатели, жгут и индикаторы
  • A16YAK09AF OUTLAW 90 Аммортизаторы
    Аммортизаторы
  • A16YAK09AF OUTLAW 90 Воздушная система
    Воздушная система
  • A16YAK09AF OUTLAW 90 Колеса перед
    Колеса перед
  • A16YAK09AF OUTLAW 90 Цепь ГРМ
    Цепь ГРМ
  • A16YAK09AF OUTLAW 90 Колесо заднее
    Колесо заднее
  • A16YAK09AF OUTLAW 90 Задний привод
    Задний привод


  Информация
  • Новости
  • О Компании
  • Оплата и Доставка
  • Помощь
  • Обратная связь
  • Контакты
  OEM запчасти
  • Запчасти для мотоциклов
  • Запчасти для квадроциклов
  • Запчасти для снегоходов
  • Запчасти для мотовездеходов
  • Запчасти для гидроциклов
  • Запчасти для лодочных моторов
  Наши контакты
  • ИП Зуев Артем Павлович
  • г. Москва 2-я Хуторская улица, д.29, офис 214
  • Email: info@partsfor.ru

Тел: ‎8(495) 532-03-60
8(909) 958-46-33; 8(925) 200-16-98

* все разговоры записываются
С 10.00 до 19.00 ПН - ПТ

© 2026 Интернет магазин запчастей для мототехники ПартсФор.

  • PaymentGateway
  • PaymentGateway
Договор-оферта
Образец договора для юр.лиц
Пользовательское соглашение
Политика конфиденциальности

Товар добавлен в корзину

Выбранный товар добавлен в Вашу корзину.
Далее Вы можете перейти в корзину для оформления заказа или закрыть это окно и продолжить покупки.

Перейти в корзину

Выбор модели техники

Выбрать