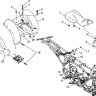
BIG BOSS 500 6X6 INTL - A99AE50DA (1999)

Оригинальные запчасти для квадроциклов Polaris

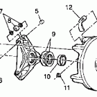
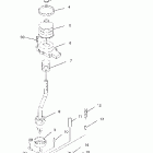
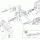
Выбор узла

BIG BOSS 500 6X6  INTL  - A99AE50DA (1999)