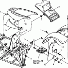
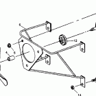
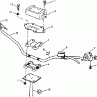
300 4X4 - W958130 (1995)

Оригинальные запчасти для квадроциклов Polaris

Выбор узла

300 4X4 - W958130 (1995)