• О Компании
  • Оплата и Доставка
  • Помощь
  • Обратная связь
  • Контакты
  • Telegram
  • ВКонтакте
  • Telegram
  • ВКонтакте
  • Регистрация
  • Авторизация
Интернет магазин мотозапчастей PartsFor.ru
Москва и регионы России
  • Личный кабинет
    • Заказы
    • Оплаты
    • Отгрузки
    • Сообщения
    • Профиль
    • Выход
  • Оригинальные запчасти
    • Для мотоциклов
    • Yamaha
    • Honda
    • Suzuki
    • Kawasaki
    • Harley Davidson
    • Ducati
    • Can-Am
    • Aprilia
    • BMW
    • Triumph
    • Husaberg
    • Husqvarna
    • KTM
    • Indian
    • Victory
    • Slingshot
    • Для мотоциклов
    • Для квадроциклов
    • Для снегоходов
    • Для мотовездеходов
    • Для гидроциклов
    • Для лодочных моторов
    • Для катеров
    • Для судовых двигателей
    • Для генераторов
    • Для квадроциклов
    • Yamaha
    • Honda
    • Suzuki
    • Kawasaki
    • Arctic Cat
    • Can-Am
    • Polaris
    • KTM
    • Для снегоходов
    • Yamaha
    • Arctic Cat
    • Lynx
    • Ski-Doo
    • Polaris
    • Для генераторов
    • Для мотовездеходов
    • Yamaha
    • Honda
    • Suzuki
    • Kawasaki
    • Arctic Cat
    • Can-Am
    • Polaris
    • Polaris RZR
    • Для гидроциклов
    • Yamaha
    • Honda Marine
    • Kawasaki
    • Arctic Cat
    • Polaris
    • Sea-Doo
    • Для лодочных моторов
    • Для катеров
    • Для суд. двигателей
    • Для генераторов
    • Для лодочных моторов
    • Yamaha
    • Honda Marine
    • Suzuki Marine
    • Evinrude
    • Johnson
    • Nissan
    • Tohatsu
    • Mercury
    • Force
    • Mariner
    • Для катеров
    • Yamaha
    • Sea-Doo
    • Для суд. двигателей
    • Для спецтехники
  • Неоригинал, расходники
  • Заказ по каталогам
    • КАТАЛОГ PARTS UNLIMITED
  • Моторезина
  1. Главная
  2. Запчасти для квадроциклов
  3. Polaris
  4. 1994
  5. TRAIL BOSS - W948527

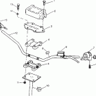
TRAIL BOSS - W948527 (1994)

Оригинальные запчасти для квадроциклов Polaris

Выбор узла

TRAIL BOSS - W948527 (1994)
  • TRAIL BOSS - W948527 Air box assembly trail boss w948527
    Air box assembly trail boss w948527
  • TRAIL BOSS - W948527 Картер
    Картер
  • TRAIL BOSS - W948527 Bumper and rack mounting trail boss w948527
    Bumper and rack mounting trail boss w948527
  • TRAIL BOSS - W948527 Gearcase / brake mounting trail boss w948527
    Gearcase / brake mounting trail boss w948527
  • TRAIL BOSS - W948527 Карбюратор
    Карбюратор
  • TRAIL BOSS - W948527 Headlight assembly trail boss w948527
    Headlight assembly trail boss w948527
  • TRAIL BOSS - W948527 Clutch cover assembly trail boss w948527
    Clutch cover assembly trail boss w948527
  • TRAIL BOSS - W948527 Магнето
    Магнето
  • TRAIL BOSS - W948527 Трост дроселя
    Трост дроселя
  • TRAIL BOSS - W948527 Маслянный насос
    Маслянный насос
  • TRAIL BOSS - W948527 Трост дроселя
    Трост дроселя
  • TRAIL BOSS - W948527 Oil tank assembly trail boss w948527
    Oil tank assembly trail boss w948527
  • TRAIL BOSS - W948527 Картер и блок цилиндр
    Картер и блок цилиндр
  • TRAIL BOSS - W948527 Rear brake assembly trail boss w948527
    Rear brake assembly trail boss w948527
  • TRAIL BOSS - W948527 Коленвал и поршни
    Коленвал и поршни
  • TRAIL BOSS - W948527 Rear cab assembly trail boss w948527
    Rear cab assembly trail boss w948527
  • TRAIL BOSS - W948527 Drive clutch assembly trail boss w948527
    Drive clutch assembly trail boss w948527
  • TRAIL BOSS - W948527 Rear wheel drive assembly
    Rear wheel drive assembly
  • TRAIL BOSS - W948527 Driven clutch assembly trail boss w948527
    Driven clutch assembly trail boss w948527
  • TRAIL BOSS - W948527 Ручной стартер
    Ручной стартер
  • TRAIL BOSS - W948527 Electrical / taillight assembly
    Electrical / taillight assembly
  • TRAIL BOSS - W948527 Shift linkage assembly trail boss w948527
    Shift linkage assembly trail boss w948527
  • TRAIL BOSS - W948527 Engine mounting trail boss w948527
    Engine mounting trail boss w948527
  • TRAIL BOSS - W948527 Стартер
    Стартер
  • TRAIL BOSS - W948527 Exhaust assembly trail boss w948527
    Exhaust assembly trail boss w948527
  • TRAIL BOSS - W948527 Управление
    Управление
  • TRAIL BOSS - W948527 Front brake assembly trail boss w948527
    Front brake assembly trail boss w948527
  • TRAIL BOSS - W948527 Steering post assembly trail boss w948527
    Steering post assembly trail boss w948527
  • TRAIL BOSS - W948527 Front cab assembly trail boss w948527
    Front cab assembly trail boss w948527
  • TRAIL BOSS - W948527 Steering / a-arm trail boss w948527
    Steering / a-arm trail boss w948527
  • TRAIL BOSS - W948527 Front wheel assembly trail boss w948527
    Front wheel assembly trail boss w948527
  • TRAIL BOSS - W948527 Strut assembly trail boss w948527
    Strut assembly trail boss w948527
  • TRAIL BOSS - W948527 Fuel tank assembly trail boss w948527
    Fuel tank assembly trail boss w948527
  • TRAIL BOSS - W948527 Swing arm / shock mounting trail boss w948527
    Swing arm / shock mounting trail boss w948527
  • TRAIL BOSS - W948527 Tool kit assembly
    Tool kit assembly


  Информация
  • Новости
  • О Компании
  • Оплата и Доставка
  • Помощь
  • Обратная связь
  • Контакты
  OEM запчасти
  • Запчасти для мотоциклов
  • Запчасти для квадроциклов
  • Запчасти для снегоходов
  • Запчасти для мотовездеходов
  • Запчасти для гидроциклов
  • Запчасти для лодочных моторов
  Наши контакты
  • ИП Зуев Артем Павлович
  • г. Москва 2-я Хуторская улица, д.29, офис 214
  • Email: info@partsfor.ru

Тел: ‎8(495) 532-03-60
8(909) 958-46-33; 8(925) 200-16-98

* все разговоры записываются
С 10.00 до 19.00 ПН - ПТ

© 2026 Интернет магазин запчастей для мототехники ПартсФор.

  • PaymentGateway
  • PaymentGateway
Договор-оферта
Образец договора для юр.лиц
Пользовательское соглашение
Политика конфиденциальности

Товар добавлен в корзину

Выбранный товар добавлен в Вашу корзину.
Далее Вы можете перейти в корзину для оформления заказа или закрыть это окно и продолжить покупки.

Перейти в корзину

Выбор модели техники

Выбрать