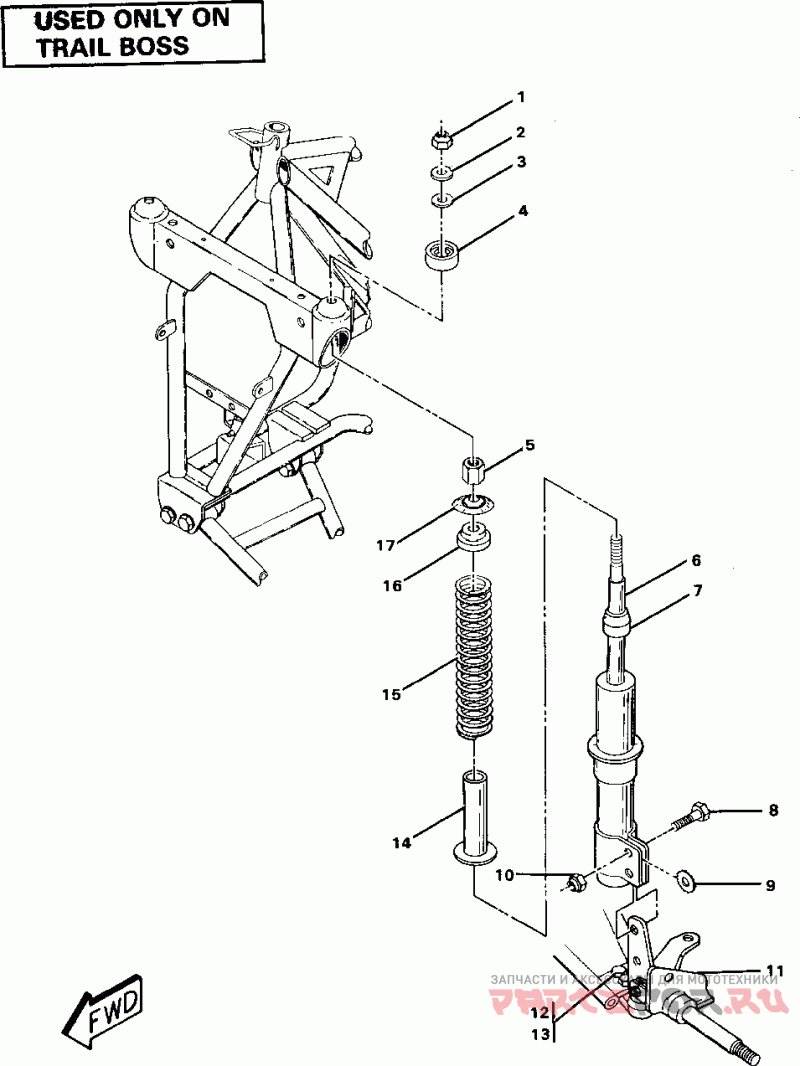
Strut assembly-trail boss

Polaris W867527 TRAIL BOSS

Polaris
#oem кодцена
1
7542507
Деталь Nut, Flex Loc(10)
2
7555749
Шайба (отпускается по 10шт)
3
5810291
Прокладка резиновая (отп.по 10шт)
4
5432872
Деталь Pivot, Ball, Top
5
5130631
Деталь Spacer, Threaded
6
1843010
Деталь Tube, Strut, Weld. *
7
5410429
Деталь Bumper, Rubber
10
7542522
Гайка
12
7512492
Винт (отпускается по 10шт.)
13
7542449
Деталь Nut, Flange Lock
15
7041161-067
Деталь Spring, Strut
16
5220602
Деталь Retainer, Spring, Top
17
5432871
Деталь Pivot, Ball, Bottom