TRX680FA (2017)

Оригинальные запчасти для квадроциклов Honda

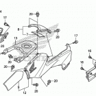
Выбор узла

TRX680FA (2017)