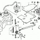
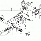
TRX500FPM (2009)

Оригинальные запчасти для квадроциклов Honda

Выбор узла

TRX500FPM (2009)