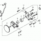
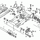
TRX300X (2009)

Оригинальные запчасти для квадроциклов Honda

Выбор узла

TRX300X (2009)