400-500 cc (2000)

Оригинальные запчасти для квадроциклов Arctic Cat

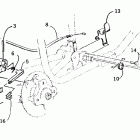
Выбор узла

400-500 cc (2000)