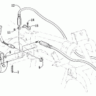
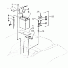
Bearcat 454 2x4 (1997)

Оригинальные запчасти для квадроциклов Arctic Cat

Выбор узла

Bearcat 454 2x4 (1997)

Arctic Cat Bearcat 454 4x2 1997

Неоригинальные запчасти Parts Unlimited