• О Компании
  • Оплата и Доставка
  • Помощь
  • Обратная связь
  • Контакты
  • Telegram
  • ВКонтакте
  • Telegram
  • ВКонтакте
  • Регистрация
  • Авторизация
Интернет магазин мотозапчастей PartsFor.ru
Москва и регионы России
  • Личный кабинет
    • Заказы
    • Оплаты
    • Отгрузки
    • Сообщения
    • Профиль
    • Выход
  • Оригинальные запчасти
    • Для мотоциклов
    • Yamaha
    • Honda
    • Suzuki
    • Kawasaki
    • Harley Davidson
    • Ducati
    • Can-Am
    • Aprilia
    • BMW
    • Triumph
    • Husaberg
    • Husqvarna
    • KTM
    • Indian
    • Victory
    • Slingshot
    • Для мотоциклов
    • Для квадроциклов
    • Для снегоходов
    • Для мотовездеходов
    • Для гидроциклов
    • Для лодочных моторов
    • Для катеров
    • Для судовых двигателей
    • Для генераторов
    • Для квадроциклов
    • Yamaha
    • Honda
    • Suzuki
    • Kawasaki
    • Arctic Cat
    • Can-Am
    • Polaris
    • KTM
    • Для снегоходов
    • Yamaha
    • Arctic Cat
    • Lynx
    • Ski-Doo
    • Polaris
    • Для генераторов
    • Для мотовездеходов
    • Yamaha
    • Honda
    • Suzuki
    • Kawasaki
    • Arctic Cat
    • Can-Am
    • Polaris
    • Polaris RZR
    • Для гидроциклов
    • Yamaha
    • Honda Marine
    • Kawasaki
    • Arctic Cat
    • Polaris
    • Sea-Doo
    • Для лодочных моторов
    • Для катеров
    • Для суд. двигателей
    • Для генераторов
    • Для лодочных моторов
    • Yamaha
    • Honda Marine
    • Suzuki Marine
    • Evinrude
    • Johnson
    • Nissan
    • Tohatsu
    • Mercury
    • Force
    • Mariner
    • Для катеров
    • Yamaha
    • Sea-Doo
    • Для суд. двигателей
    • Для спецтехники
  • Неоригинал, расходники
  • Заказ по каталогам
    • КАТАЛОГ PARTS UNLIMITED
  • Моторезина
  1. Главная
  2. Запчасти для гидроциклов
  3. Polaris
  4. 2003
  5. W035098CA/W035098IA GENESIS I

W035098CA/W035098IA GENESIS I (2003)

Оригинальные запчасти для гидроциклов Polaris

Выбор узла

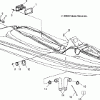
W035098CA/W035098IA GENESIS I (2003)
  • W035098CA/W035098IA GENESIS I Air vent - w035098ca / w035098ia
    Air vent - w035098ca / w035098ia
  • W035098CA/W035098IA GENESIS I Hull and body - w035098ca / w035098ia
    Hull and body - w035098ca / w035098ia
  • W035098CA/W035098IA GENESIS I Battery box - w035098ca / w035098ia
    Battery box - w035098ca / w035098ia
  • W035098CA/W035098IA GENESIS I Bilge pump - w035098ca / w035098ia
    Bilge pump - w035098ca / w035098ia
  • W035098CA/W035098IA GENESIS I Manifold / ignition - w035098ca / w035098ia
    Manifold / ignition - w035098ca / w035098ia
  • W035098CA/W035098IA GENESIS I Cooling system - w035098ca / w035098ia
    Cooling system - w035098ca / w035098ia
  • W035098CA/W035098IA GENESIS I Oil pump - w035098ca / w035098ia
    Oil pump - w035098ca / w035098ia
  • W035098CA/W035098IA GENESIS I Crankcase - w035098ca / w035098ia
    Crankcase - w035098ca / w035098ia
  • W035098CA/W035098IA GENESIS I Oil tank - w035098ca / w035098ia
    Oil tank - w035098ca / w035098ia
  • W035098CA/W035098IA GENESIS I Crankshaft and piston - w035098ca / w035098ia
    Crankshaft and piston - w035098ca / w035098ia
  • W035098CA/W035098IA GENESIS I Propulsion - w035098ca / w035098ia
    Propulsion - w035098ca / w035098ia
  • W035098CA/W035098IA GENESIS I Decals - w035098ca / w035098ia
    Decals - w035098ca / w035098ia
  • W035098CA/W035098IA GENESIS I Reverse - w035098ca / w035098ia
    Reverse - w035098ca / w035098ia
  • W035098CA/W035098IA GENESIS I Drive system - w035098ca / w035098ia
    Drive system - w035098ca / w035098ia
  • W035098CA/W035098IA GENESIS I Seat - w035098ca / w035098ia
    Seat - w035098ca / w035098ia
  • W035098CA/W035098IA GENESIS I Electrical - w035098ca / w035098ia
    Electrical - w035098ca / w035098ia
  • W035098CA/W035098IA GENESIS I Shroud - w035098ca / w035098ia
    Shroud - w035098ca / w035098ia
  • W035098CA/W035098IA GENESIS I Emm - w035098ca / w035098ia
    Emm - w035098ca / w035098ia
  • W035098CA/W035098IA GENESIS I Starting motor - w035098ca / w035098ia
    Starting motor - w035098ca / w035098ia
  • W035098CA/W035098IA GENESIS I Engine mounting - w035098ca / w035098ia
    Engine mounting - w035098ca / w035098ia
  • W035098CA/W035098IA GENESIS I Steering - w035098ca / w035098ia
    Steering - w035098ca / w035098ia
  • W035098CA/W035098IA GENESIS I Exhaust system - w035098ca / w035098ia
    Exhaust system - w035098ca / w035098ia
  • W035098CA/W035098IA GENESIS I Front storage compartment - w035098ca / w035098ia
    Front storage compartment - w035098ca / w035098ia
  • W035098CA/W035098IA GENESIS I Throttle body - w035098ca / w035098ia
    Throttle body - w035098ca / w035098ia
  • W035098CA/W035098IA GENESIS I Fuel system - w035098ca / w035098ia
    Fuel system - w035098ca / w035098ia
  • W035098CA/W035098IA GENESIS I Tool kit - w035098ca / w035098ia
    Tool kit - w035098ca / w035098ia
  • W035098CA/W035098IA GENESIS I Fuel tank - w035098ca / w035098ia
    Fuel tank - w035098ca / w035098ia
  • W035098CA/W035098IA GENESIS I Water inlet - w035098ca / w035098ia
    Water inlet - w035098ca / w035098ia
  • W035098CA/W035098IA GENESIS I Water siphon - w035098ca / w035098ia
    Water siphon - w035098ca / w035098ia


  Информация
  • Новости
  • О Компании
  • Оплата и Доставка
  • Помощь
  • Обратная связь
  • Контакты
  OEM запчасти
  • Запчасти для мотоциклов
  • Запчасти для квадроциклов
  • Запчасти для снегоходов
  • Запчасти для мотовездеходов
  • Запчасти для гидроциклов
  • Запчасти для лодочных моторов
  Наши контакты
  • ИП Зуев Артем Павлович
  • г. Москва 2-я Хуторская улица, д.29, офис 214
  • Email: info@partsfor.ru

Тел: ‎8(495) 532-03-60
8(909) 958-46-33; 8(925) 200-16-98

* все разговоры записываются
С 10.00 до 19.00 ПН - ПТ

© 2026 Интернет магазин запчастей для мототехники ПартсФор.

  • PaymentGateway
  • PaymentGateway
Договор-оферта
Образец договора для юр.лиц
Пользовательское соглашение
Политика конфиденциальности

Товар добавлен в корзину

Выбранный товар добавлен в Вашу корзину.
Далее Вы можете перейти в корзину для оформления заказа или закрыть это окно и продолжить покупки.

Перейти в корзину

Выбор модели техники

Выбрать